| NO | DIAPHRAGMS OR PISTONS |
| NO | GAS VALVES OR MICRO SWITCHES |
| NO | PACKING OR O-RINGS |
| NO | CHECK VALVES |
| NO | FUEL GAS REQUIRED |
| YES | AUTOMATICALLY TURNS OFF/ON AT DESIRED AMBIENT OR GAS TEMP |
| YES | ALLOWS YOU TO CHANGE FLOW AT THE PUSH OF A BUTTON |
| YES | ALLOWS YOU TO TURN ON/OFF WITH THE CYCLING OF A PLUNGER LIFT SYSTEM |
| YES | VIRTUALLY NO VENTING EX: @100PSI LESS THAN .00000000000009 CUBIC METERS PER MONTH (35 LITRES/DAY OR 8 GALLONS/DAY |
| YES | VERY !!! LOW MAINTENANCE |
| YES | SCADA COMPATIBLE, OPERATE AT REMOTE TERMINAL |
| YES | SOLAR POWERED |
| YES | GRAVITY FEED |
| YES | L.C.D. SCREEN DISPLAYS |
| YES |
|


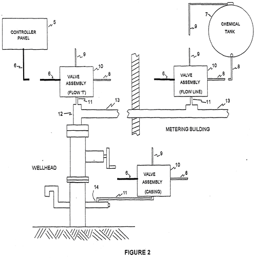
CONTROL BOX CPU BATTERY & CHARGE CIRCUIT CLASS 1 DIVISION 2 CHANGE FLOW AT THE PUSH OF A BUTTON
VALVE ASSEMBLY CLASS 1 DIVISION 1 4 MAGNALATCH SOLENOID VALVES
SOLAR PANEL DOES NOT REQUIRE SUN FOR 2 WEEKS
TEXSTEAM MODEL 5100EXAMPLE: VENTED GAS = 2.2 E3M3 PER MONTH |
ELECTRONIC FLOW CONTROLLEREXAMPLE: VENTED GAS = .02 E3M3 PER MONTH |
TRINITY IS COMMITTED TO CONSERVING THE WORLDS NATURAL TREASURES. ADVANCED TECHNOLOGIES LIKE THE ELECTRONIC FLOW CONTROLLER AND THE FLOW DIVIDER ALLOWS THE OIL & GAS INDUSTRY TO LESSON ENVIRONMENTAL IMPACT.


TRINITY INNOVATIONS INC.
“The making of change, the introduction of new things or of new ways of doing things"R.R. #1 BAWLF ALBERTA
CANADA
TOB OJO
PHONE/FAX
1-780-373-2554
E-MAIL
trinityi@telus.net